يتم ضمان نقل السوائل بكفاءة عالية بواسطة مضخة الأنابيب متعددة المراحل العمودية GDL، وهي مثالية لزيادة الضغط في أنظمة إمدادات المياه والأنظمة الصناعية.
رقم الصنف :
GDLالنظام (موك) :
1دفع :
Alipay PayPal westernunion L/C T/Tأصل المنتج :
Chinaلون :
Customizedميناء الشحن :
shanghai shenzhen guangzhouفترة إنتاج :
please contact 504893184@qq.com or CP +8613696510409طَرد :
Customizedمادة :
Stainless Steelدرجة حرارة العمل :
≤100℃ضغط العمل :
≤1.6MPaمضخة الأنابيب متعددة المراحل العمودية
لنقل السوائل عالية الضغط في الأنابيب، تُعد مضخة الأنابيب العمودية متعددة المراحل GDL مضخةً فعّالة وصغيرة الحجم. وهي مثالية لأنظمة تغذية الغلايات، والدوران الصناعي، وإمدادات المياه بفضل تصميمها متعدد المراحل، مما يضمن أداءً ثابتًا. صغيرة الحجم، متينة، وسهلة الصيانة.
مزايا المنتج
يتميز الجيل الأحدث من المضخات بحجمه الصغير وأدائه الموثوق وسهولة تركيبه وكفاءة استهلاكه للطاقة. يستخدم مانع تسرب العمود مانع تسرب ميكانيكيًا مقاومًا للتآكل للحد من التسرب وإطالة عمر الخدمة، بينما يتكون الغلاف من الفولاذ المقاوم للصدأ 1Cr18Ni9Ti عالي الجودة. يتم التحكم في القوة المحورية بواسطة التوازن الهيدروليكي، مما يضمن تشغيلًا هادئًا وسلسًا. يمكن دمجها بسهولة في أي قسم أفقي من خطوط الأنابيب نظرًا لظروف تركيبها الأفضل من مضخات نوع DL. تلبي هذه المضخة تمامًا متطلبات مكافحة الحرائق والصرف الصحي وإمدادات المياه في المناجم العميقة والمباني الشاهقة والتطبيقات ذات الصلة. تُعد هذه المضخة الخيار الأمثل لمجموعة متنوعة من القطاعات، حيث إنها مثالية لنقل المياه الساخنة أو الباردة أو الوسائط العامة ذات الخصائص الكيميائية والفيزيائية المماثلة للماء. درجة حرارة التشغيل وضغطها ≤ 100 درجة مئوية وPN ≤ 1.6 ميجا باسكال (16 كجم/سم²).
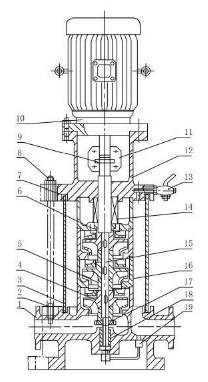
مخطط هيكلي

| No | 1 | 2 | 3 | 4 | 5 | 6 | 7 | 8 | 9 | 10 | 11 | 12 | 13 | 14 | 15 | 16 | 17 | 18 | 19 |
| عنصر | جسم المضخة | مسمار الشد | الأسطوانة الخارجية | المكره | جلبة المكره | كم العمود | حشية | بندق | دبوس | المحرك | اقتران | مقعد الاتصال | فوهة | الختم الميكانيكي | رمح | القسم الأوسط | صامولة كم العمود | محمل | مجموعة أنبوب العودة |