تضمن مضخة LW العمودية المتواصلة إدارةً فعّالة لمياه الصرف الصحي المحتوية على مواد صلبة، دون القلق بشأن مياه الصرف الصحي والتطبيقات الصناعية. تصميمها العمودي يوفر المساحة ويجنّب العوائق.
رقم الصنف :
LWالنظام (موك) :
1دفع :
Alipay PayPal westernunion T/T L/Cأصل المنتج :
Chinaلون :
Customizedميناء الشحن :
shanghai shenzhen guangzhouفترة إنتاج :
please contact 504893184@qq.com or CP +8613696510409طَرد :
Customizedمادة :
Cast ironمضخة الصرف الصحي العمودية غير المسدودة
ابتكرت شركتنا ثلاثة خطوط إنتاج رئيسية تُشكّل مضخات الصرف الصحي العمودية من سلسلة LW (WL). عُدّلت هذه المضخات لتلبية احتياجات المستخدمين وظروف التشغيل المتنوعة، استنادًا إلى النموذج الهيدروليكي لسلسلة مضخات الصرف الصحي الغاطسة WQ (QW سابقًا). منذ طرحها، حظيت سلسلة LW بشهرة واسعة وحظيت بإشادة واسعة بفضل تصميمها المتطور وأدائها الموثوق في السوق.
تطبيق المنتج
محطات تصريف مياه الصرف الصحي في المناطق السكنية، وأنظمة الصرف الصحي في محطات معالجة مياه الصرف الصحي في المناطق الحضرية، ومحطات الصرف في أنظمة الدفاع الجوي المدني، ومنشآت إمدادات المياه في محطات معالجة المياه، وتصريف مياه الصرف الصحي في المستشفيات والفنادق، ومواقع البناء الهندسية البلدية، ومعدات دعم التعدين والتنقيب، وأجهزة هضم الغاز الحيوي الريفية، والري الزراعي، جميعها استخدامات مناسبة لهذا المنتج. فهو قادر على نقل المياه النظيفة، والمواد المسببة للتآكل، ومياه الصرف الصحي، والنفايات التي تحتوي على جزيئات صلبة.
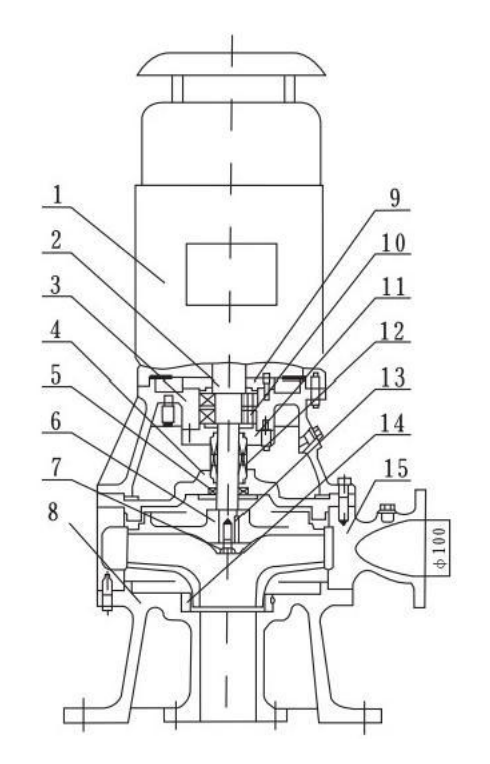
مخطط هيكلي

| 1 | المحرك |
| 2 | عمود التمديد |
| 3 | غلاف المحمل |
| 4 | غطاء المضخة |
| 5 | ختم الزيت |
| 6 | المكره |
| 7 | صمولة المكره |
| 8 | قاعدة |
| 9 | غطاء المحمل |
| 10 | محمل |
| 11 | مقعد الختم الميكانيكي |
| 12 | ختم ميكانيكي |
| 13 | مفتاح |
| 14 | حلقة تآكل جسم المضخة |
| 15 | جسم المضخة |