صُممت مضخة الطرد المركزي ZXL ذاتية التحضير، المُقترنة مباشرةً، لضمان الموثوقية، حيث توفر تشغيلًا سهلاً وتحضيرًا تلقائيًا فعالًا. إنها حل متعدد الاستخدامات لمجموعة واسعة من التطبيقات، من نقل المياه الزراعية إلى معالجة السوائل الصناعية.
رقم الصنف :
ZXLالنظام (موك) :
1دفع :
L/C T/T westernunion Alipay Paypalأصل المنتج :
Chinaلون :
Customizedميناء الشحن :
shanghai shenzhen guangzhouفترة إنتاج :
please contact CP +8613696510409ثقل :
please contact 504893184@qq.comطَرد :
Customizedمادة :
Cast iron/Stainless steelمضخة الطرد المركزي ذاتية التحضير ذات التوصيل المباشر
سلسلة مضخات ZXL ذاتية التحضير المتصلة مباشرةً هي منتج مبتكر طُوّر بناءً على تقنيات محلية ودولية متقدمة. وباعتبارها إنجازًا رائدًا في الصين، تُضاهي هذه المضخات المعايير الدولية الرائدة من حيث أدائها التقني، مما يُظهر إمكانات تطبيقية واعدة وآفاقًا واعدة في السوق.
مزايا المنتج
صُممت مضخة ZXL ذات التوصيل المباشر لتسهيل نقل السوائل في البيئات الصعبة، مما يُغني عن التركيب المُعقّد. تصميمها المُبتكر لا يتطلب صمامات فحص أو صمامات قدم، ويُحقق تحضيرًا ذاتيًا موثوقًا به مع الحد الأدنى من السوائل. تتميز هذه الوحدة المدمجة والخالية من الاهتزازات بمساحة أصغر بنسبة 30%، وأختام من كربيد التنغستن المقاومة للتآكل، ومحرك مُصنّف IP54، مما يجعلها الحل الأمثل منخفض الصيانة للاستخدامات الصناعية والزراعية الخارجية.
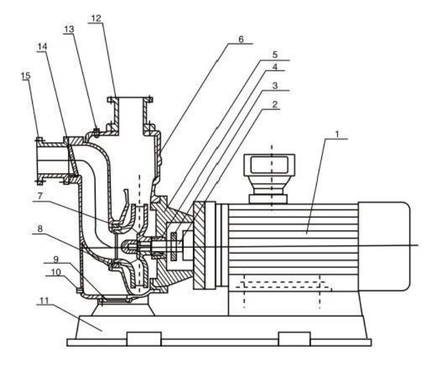
مخطط هيكلي

| 1 | المحرك | مُتصل مباشرةً بالمضخة لنقل الطاقة. يستخدم محركات ذات علامة تجارية (طراز CYZ-AL يعتمد محركات مقاومة للانفجار). |
| 2 | عمود المضخة | محوري مع المحرك. يتميز بتصميم عمود ممتد يضمن مركزيةً عاليةً لتشغيل سلس (بدون ضوضاء أو اهتزاز). مطلي بالكروم لمزيد من المتانة. |
| 3 | حلقة عاكسة للمياه | يمنع فيضان المحرك بسبب تسرب الختم. |
| 4 | الختم الميكانيكي | مصنوع من الفولاذ المقاوم للصدأ، وكربيد التنغستن، والمطاط الفلوري. تصميم متوازن مقاوم للحرارة والضغط العاليين يضمن تشغيلًا خاليًا من التسرب، وتآكلًا تامًا للعمود، ومنع تراكم الترسبات. |
| 5 | غطاء المضخة | يربط بين جسم المضخة والمحرك. |
| 6 | جسم المضخة | مُصمم بغرف هيدروليكية مُحسّنة (تفريغ/شفط/فصل الغاز عن السائل). مزود بأقدام تثبيت لضمان ثبات التركيب. |
| 7 | المكره | تصميم هيدروليكي عالي الكفاءة لأداء موثوق به. |
| 8 | خاتم الختم | يقوم بإغلاق المفصل بين الدافع وجسم المضخة. |
| 9 | لوحة الغطاء السفلي | يسمح بإزالة الرواسب عند فتحه. |
| 10 | سدادة التصريف | يقوم بتصريف السوائل المتبقية أثناء عدم نشاط المضخة لفترة طويلة. |
| 11 | لوحة القاعدة | يوفر اتصالاً هيكليًا ويدعم تركيب عازل الاهتزاز. |
| 12 | فوهة التفريغ | يتصل بأنابيب المخرج. |
| 13 | صمام تعبئة المياه | يعمل على تجديد سائل التجويف عندما لا يكون كافياً. |
| 14 | صمام الفحص | يمنع التدفق العكسي عند إيقاف تشغيل المضخة. |
| 15 | فوهة المدخل | يتصل بأنابيب السحب. |